TOOL
Tool MW
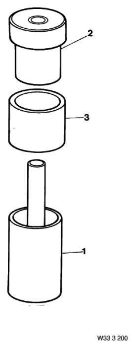
Note: (Press-out/-in tool set) For pressing the rubber mount out of and into the control arm special tools 33 3 202 and 33 3 203 for E87 and E90
Storage Location
B32
SI number
01 05 90 (207)
Consisting of:
1 = 0492261 Bush
NOTE: For accommodating control arm when pressing out rubber mount Series: E31
2 = 0492262 Thrust piece
NOTE: For pressing out rubber mount Series: E31, E46, E85, F01, F02
3 = 0492263 Sleeve
NOTE: (Spacer sleeve) For pressing rubber mount into control arm Series: E31, E46, E85, F01, F02
.png)
Fig. 42: Identifying Tool (333200)
TOOL SET
Minimum set: Mechanical tools Tool set MW
Note: Disks/bushes for removing and installing ball joint on rear wheel carrier
Storage Location
B33
SI number
01 06 94 (801)
Consisting of:
1 = 0492432 Tube
.png)
Fig. 43: Identifying Tool Set (334190)
NOTE: (support tube) For removing and fitting
2 = 0492433 Plate
NOTE: (support plate) For removing and fitting
3 = 0492434 Synchronizing key
NOTE: For removing
4 = 0492435 Synchronizing key
NOTE: For installing
WASHER
Minimum set: Mechanical tools Washer MW
Note: For removing and installing output shaft in drive flange, front and rear, as well as for removing front wheel bearing unit
Storage Location
C8
B8
SI number
01 17 03 (012)
.png)
Fig. 44: Identifying Washer (332160)
Rear Axle - Technical Data
GENERAL - TRACK WIDTH
GENERAL - TRACK WIDTH F01/F02/REAR WHEEL STANDARD SUSPENSION
GENERAL - TRACK WIDTH SPECIFICATION
.png)
GENERAL - TRACK WIDTH F01/F02/REAR WHEEL 1 AXLE AIR SPRING
GENERAL - TRACK WIDTH SPECIFICATION
.png)
GENERAL - TRACK WIDTH E92/M3 GTS
GENERAL - TRACK WIDTH SPECIFICATION
.png)
REAR AXLE - RIDE HEIGHT
REAR AXLE - RIDE HEIGHT F01/F02/REAR WHEEL
REAR AXLE - RIDE HEIGHT SPECIFICATION
.png)
.png)
REAR AXLE FINAL DRIVE
REAR AXLE FINAL DRIVE 235L
REAR AXLE FINAL DRIVE SPECIFICATION
.png)
WHEEL BEARINGS
WHEEL BEARINGS SPECIFICATION
.png)
 Information On Using Cleaning Agent/Paints (Personal Protection
Equipment)
 Information On Using Cleaning Agent/Paints (Personal Protection
Equipment)
	 Removing And Installing/Replacing Center Fresh Air Grille
 Removing And Installing/Replacing Center Fresh Air Grille
	 Safety Information For Working On Vehicles With Automatic Engine
Start-Stop Function (MSA)
 Safety Information For Working On Vehicles With Automatic Engine
Start-Stop Function (MSA)