Notes
Necessary preliminary work:
Special tools for wiring harness repairs.
Spare parts for vehicle electrical system (stop parts and housings):
1. Crimping stop parts up to 2.5 mm 2
Crimping Micro Quadlock System contacts (MQS).
2. Crimping stop parts including and over 2.5 mm 2
Crimping load current contacts (LSK 8).
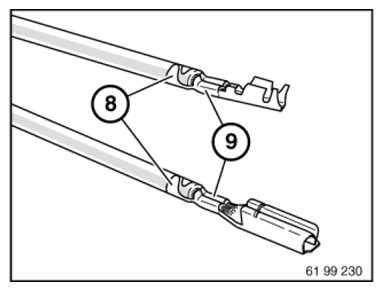
Checking crimping
Check insulation crimping (8) and wire crimp (9) against following illustrations to ensure crimps are correctly located.
NOTE: Illustration shows butt connectors and contact sleeves for comb connectors knocked on one side. The crimping procedure is identical here.
.png)
Fig. 148: Identifying Crimping Insulation And Wire Crimp
Correct crimping:
Visible conductor end (10).
Visible insulation end (11).
.png)
Fig. 149: Identifying Conductor And Insulator Ends
Incorrect crimping:
Conductor end (10) inserted too far.
Insulation end (11) in wire crimp.
If necessary, repeat crimping with a new contact.
.png)
Fig. 150: Incorrect Crimping (Conductor End Inserted Too Far)
Incorrect crimping:
Conductor end (10) not visible.
Insulation end (11) not visible.
If necessary, repeat crimping with a new contact.
.png)
Fig. 151: Incorrect Crimping (Conductor End Not Visible)
CUTTING OFF, STRIPPING INSULATION AND CUTTING OPTICAL FIBRES TO LENGTH
Notes
To cut off, strip insulation and cut optical fibres to length, use pliers 61 4 321 (1) in conjunction with crimping head 61 4 322 (2) 61 4 320 from crimping set.
NOTE: Pliers (1) open automatically as far as they will go when handles are pressed together.
.png)
Fig. 152: Identifying Hand Pliers With Crimping Head (61 4 320)
Cutting optical fibre
Open pliers (1).
Place optical fibre (2) in cutting device (3).
Close pliers (1) and remove optical fibre (2).
.png)
Fig. 153: Removing Optical Fibre Using Plier
Stripping insulation from optical fibre
Open pliers (1).
Open lever (2) in direction of arrow.
.png)
Fig. 154: Opening Lever
Slide optical fibre (1) into stripping device (2) until flush at point (3).
Close pliers (4) fully.
Close clamping lever (5) in direction of arrow.
Open pliers (4) by one tooth notch.
Open clamping lever (5) against direction of arrow again and remove optical fibre (1).
NOTE: A stripping replacement blade set is available under number 61 4 327.
.png)
Fig. 155: Closing Clamping Lever
Cutting optical fibre to length
IMPORTANT: The cutting blade must be replaced prior to each cutting of the optical fibre.
Pull pin (1) in direction of arrow.
Fold up blade retaining link (2) in direction of arrow.
.png)
Fig. 156: Pulling Pin
WARNING: Risk of injury when changing the blade.
Remove blade (1) and replace.
Installation: Make sure blade (1) is correctly seated on locating points (2).
.png)
Fig. 157: Identifying Locating Points On Blade
Open pliers (3).
Slide optical fibre (1) into cutting device (2) until insulation of optical fibre (1) butts against clamping device.
Close pliers (3) fully and keep closed.
Remove optical fibre (1).
.png)
Fig. 158: Removing Optical Fiber
CUTTING TO LENGTH AND STRIPPING INSULATION FROM CABLES
Stripped length:
STRIPPED LENGTH REFERENCE CHART
.png)
INSTALLING FAN CONNECTOR FOR RETROFITTING/REPAIRS
Notes
NOTE: The repair range IV for vehicle electrical system contained the required special tools and individual parts for retrofitting and repair work with the aid of fan connectors.
The case can no longer be ordered. Order individual parts for wiring harness repair through BMW Parts Service.
.png)
Fig. 159: Identifying Special Tools For Vehicle Electrical System Repairing
Choose contact sleeve (up to 4 mm2 ) in accordance with wire cross-section.
.png)
Fig. 160: Identifying Contact Sleeves
Alternatively:
Choose contact sleeves (up to 2.5 mm2 ) for fan connectors.
.png)
Fig. 161: Identifying Contact Sleeves For Fan Connectors
Cut through wire loop in wiring harness at established point.
Strip insulation from both wire ends.
See repair instructions
CUTTING TO LENGTH AND STRIPPING INSULATION FROM CABLES
.png)
Fig. 162: Identifying Plier
Crimp contact sleeves on both wire ends.
See repair instructions
CRIMPING ON STOP PARTS
NOTE: If using repair kit for contact sleeves, refer to repair instruction:
BUTT CONNECTOR FOR REPAIRING A PLUG CONNECTION.
.png)
Fig. 163: Identifying Crimp Contact Sleeves On Wire End
Crimp connecting cable for retrofitting likewise with contact sleeve.
.png)
Fig. 164: Identifying Crimp Connecting Cable For Retrofitting
Cut required number of poles to length for fan connectors.
.png)
Fig. 165: Identifying Poles
Special tool 61 9 041 (hand crimping tool) in conjunction with 61 9 042 (matrix) are used for pushing contact sleeves onto fan connectors.
See repair instructions
SPECIAL TOOLS FOR WIRING HARNESS REPAIRS.
.png)
Fig. 166: Identifying Special Tool 61 9 041 (Hand Crimping Tool)
Unlock special tool 61 9 041:
Squeeze grips (1) lightly and push unlocking lever (2) in direction of arrow.
Or:
Compress handles as far as they will go, tool unlocks automatically.
.png)
Fig. 167: Pushing Unlocking Lever
Insert prepared fan connectors (3) in special tool 61 9 041/61 9 042.
.png)
Fig. 168: Inserting Fan Connectors In Special Tool (61 9 041 / 61 9 042)
Attach wire with contact sleeve to fan connector.
.png)
Fig. 169: Attaching Wire With Contact Sleeve To Fan Connector
Press crimping tool together and slide contact sleeve firmly home.
.png)
Fig. 170: Pressing Crimping Tool
IMPORTANT: Once contact sleeves have been pushed on, they should not be detached again from the fan connector or reused.
Push on further contact sleeves for potential branching.
.png)
Fig. 171: Identifying Contact Sleeve On Fan Connector
Installation in wet area (engine compartment, wheel arch)
Apply sealing compound on both sides and press into contacts (1).
Fit shrink-fit hose and heat up with hot air blower (2) (approx. 250 ºC).
NOTE: Ensure that fan connector has sufficient contact surface on mounting point.
Do not heat shrink-fit hose on edges of fan connector too strongly, risk of cracking.
Allow shrink-fit hose to cool down until hand-warm. Then press sealing material again into contacts and onto edges of fan connector.
If necessary, carefully heat shrink-fit hose again.
.png)
Fig. 172: Identifying Shrink-Fit Hose With Contacts
Installation in dry area (interior, luggage compartment)
Slide assembled fan connector into insulation housing until it locks into place.
.png)
Fig. 173: Sliding Assembled Fan Connector Into Insulation Housing
Instructions For Opening Contacts And Locks Of Different Plug
Contact Systems
Notes On Handling Optical Fibres
Removing And Installing/Renewing USB Interface Connecting Socket
Introduction
Removing And Installing/Replacing Capacitor For The Heating And
Air Conditioning System (N63)