CHECKING BRAKE DISCS
Necessary preliminary tasks
Checking thickness difference:
.png)
Fig. 57: Checking Brake Surface Thickness Using Micrometer Gauge
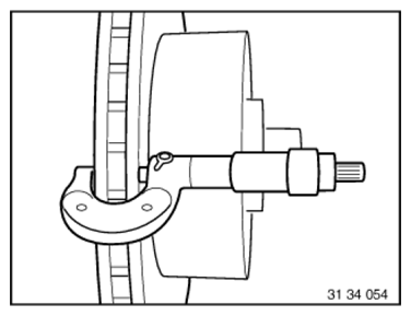
Check minimum brake disc thickness:
.png)
Fig. 58: Checking Brake Disc Thickness Using (34 1 280)
OVERHAULING LEFT OR RIGHT REAR BRAKE CALIPER (BRAKE CALIPER REMOVED)
Notes
WARNING: In the following work step, large forces occur at the brake caliper piston (up to more than 2800 N).
Risk of injury!
NOTE: Use repair kit.
Check guide sleeves (5). If necessary, fit repair kit guide sleeve.
.png)
Fig. 59: Identifying Guide Sleeves
Carefully force piston out through connection bore with compressed air.
To protect piston, place a protective plate (e.g. hard wood or hard felt) in caliper recess.
Do not grip piston with fingers - risk of trapping!
.png)
Fig. 60: Forcing Piston Out Through Connection Bore With Compressed Air
Press off dust sleeve (1).
.png)
Fig. 61: Identifying Dust Sleeve
Carefully remove sealing ring (1) special tool 00 9 316.
Clean cylinder bores and parts with alcohol and dry with compressed air.
Thoroughly inspect cylinder bore, piston and flange surfaces. Machining of cylinders and pistons is not permitted.
Install new sealing ring (1).
Installation: Apply a light coat of ANTI-SQUEAK/CORROSION PASTE to cylinder bore, piston and seal.
.png)
Fig. 62: Removing Sealing Ring Using Special Tool (00 9 316)
Fit dust sleeve (1) in annular groove of piston (2).
Press piston into cylinder bore.
IMPORTANT: Do not twist brake piston.
Evenly press dust sleeve (1) onto brake caliper housing as far as it will go.
.png)
Fig. 63: Identifying Dust Sleeve And Piston
Installation: The area between the dust sleeve and the brake caliper housing must be kept dry. It must not come into contact with brake cylinder paste or brake fluid so as to ensure that the dust sleeve is perfectly seated.
OVERVIEW OF REAR BRAKE
.png)
Fig. 64: Overview Of Rear Brake
PRECISION-TURNING BOTH REAR BRAKE DISCS ON BOTH SIDES
IMPORTANT: Always precision-turn both sides of both brake discs on one axle.
Observe max. machining dimension on each friction ring side and minimum brake disc thickness (MIN TH).
Observe minimum brake disc thickness (MIN TH).
Brake discs of M models (Compound brake discs) must not be machined! Only one brake pad set may be used up on brake discs which have been latheturned to minimum thickness (MIN TH).
Stationary brake disc lathe
IMPORTANT: Only BMW-approved brake disc lathes may be used!
In the case of stationary brake disc lathes, the rear brake discs must be removed.
Please refer to the lathe manufacturer's instruction manual for the exact procedure.
.png)
Fig. 65: Stationary Brake Disc Lathe
Mobile brake disc lathe
IMPORTANT: Only BMW-approved brake disc lathes may be used!
In the case of mobile brake disc lathes, the brake calipers and brake anchor plates must be removed.
The brake discs remain on the car.
Please refer to the lathe manufacturer's instruction manual for the exact procedure.
.png)
Fig. 66: Mobile Brake Disc Lathe
After fine-grinding the brake discs, measure the thickness difference inside the braking surfaces at 8 points with an external micrometer.
.png)
Fig. 67: Measuring Brake Surfaces Thickness Using Micrometer
Removing And Installing Or Replacing Both Rear Brake Discs
Removing And Installing/Replacing Left Or Right Rear Brake
Caliper
Master Brake Cylinder
Replacing Wiring Harness In Left Or Right Front Door
Replacing Desiccant Insert For Air Conditioning System