CHECKING BRAKE DISCS
Necessary preliminary tasks
Checking thickness difference:
.png)
Fig. 14: Measuring Thickness Difference Within Brake Surfaces Using 
Micrometer Gauge
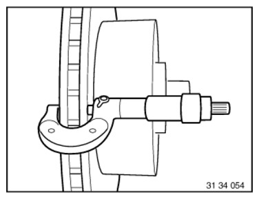
Check minimum brake disc thickness:
.png)
Fig. 15: Inserting Special Tool (34 1 260) Rim Into Opening For Brake Pad 
Wear Indicator
OVERHAULING LEFT OR RIGHT FRONT BRAKE CALIPER (BRAKE CALIPER REMOVED)
Notes
WARNING: In the following operation, large forces occur at the brake caliper piston (up to more than 2800 N).
Danger of injury!
NOTE: Use repair kit.
Check guide sleeves (1). If necessary, fit repair kit guide sleeve.
.png)
Fig. 16: Identifying Sleeves
Carefully force piston out through connecting bore (1) with compressed air.
To protect piston, place a protective plate (2) (e.g. hard wood or hardened felt) in caliper recess.
Do not grip piston with fingers - pinch hazard!
.png)
Fig. 17: Identifying Connecting Bore And Protective Plate
Press off dust boot (1).
.png)
Fig. 18: Identifying Dust Boot
Carefully remove sealing ring (1) special tool 00 9 316.
Clean cylinder bores and parts with spirits and dry with compressed air.
Thoroughly inspect cylinder bore, piston and flange surfaces for damage. Machining of cylinders and pistons is not permitted.
Install new sealing ring.
Installation note: Apply a light coat of ANTI-SQUEAK/CORROSION PASTE to cylinder bore, piston and sealing ring.
.png)
Fig. 19: Removing Sealing Ring Using Special Tool (00 9 316)
Fit dust boot (1) in annular groove of piston (2).
IMPORTANT: Do not twist brake piston.
Press piston into cylinder bore.
Evenly press dust boot (1) onto brake caliper housing (3) to the limit position.
.png)
Fig. 20: Identifying Dust Boot, Piston And Brake Caliper Housing
Installation note: The area between the dust boot and the brake caliper housing (3) must be kept dry. It must not come into contact with brake cylinder paste or brake fluid so as to ensure that the dust boot is perfectly fitted.
OVERHAULING LEFT OR RIGHT REAR BRAKE CALIPER (BRAKE CALIPER REMOVED)
Notes
WARNING: In the following work step, large forces occur at the brake caliper piston (up to more than 2800 N).
Risk of injury!
NOTE: Use repair kit.
Check guide sleeves (5). If necessary, fit repair kit guide sleeve.
.png)
Fig. 21: Identifying Guide Sleeves
Carefully force piston out through connection bore with compressed air.
To protect piston, place a protective plate (e.g. hard wood or hard felt) in caliper recess.
Do not grip piston with fingers - risk of trapping!
.png)
Fig. 22: Forcing Piston Out Through Connection Bore With Compressed Air
Press off dust sleeve (1).
.png)
Fig. 23: Identifying Dust Sleeve
Carefully remove sealing ring (1) special tool 00 9 316.
Clean cylinder bores and parts with alcohol and dry with compressed air.
Thoroughly inspect cylinder bore, piston and flange surfaces. Machining of cylinders and pistons is not permitted.
Install new sealing ring (1).
Installation: Apply a light coat of ANTI-SQUEAK/CORROSION PASTE to cylinder bore, piston and seal.
.png)
Fig. 24: Removing Sealing Ring Using Special Tool (00 9 316)
Fit dust sleeve (1) in annular groove of piston (2).
Press piston into cylinder bore.
IMPORTANT: Do not twist brake piston.
.png)
Fig. 25: Identifying Dust Sleeve And Piston
Evenly press dust sleeve (1) onto brake caliper housing as far as it will go.
Installation: The area between the dust sleeve and the brake caliper housing must be kept dry. It must not come into contact with brake cylinder paste or brake fluid so as to ensure that the dust sleeve is perfectly seated.
Overview Of Front Brakes
.png)
Fig. 26: Overview Of Front Brakes
PRECISION-TURNING BOTH FRONT BRAKE DISCS ON BOTH SIDES
IMPORTANT: Always precision-turn both sides of both brake discs on one axle.
Observe max. machining dimension on each friction ring side and minimum brake disc thickness (MIN TH).
Brake discs of M models (Compound brake discs) must not be machined! Only one brake pad set may be used up on brake discs which have been lathe-turned to minimum thickness (MIN TH).
Stationary brake disc lathe
IMPORTANT: Only BMW-approved brake disc lathes may be used!
In the case of stationary brake disc lathes, the BRAKE DISC must be removed.
Please refer to the lathe manufacturer's instruction manual for the exact procedure.
.png)
Fig. 27: Stationary Brake Disc Lathe
Mobile brake disc lathe
IMPORTANT: Only BMW-approved brake disc lathes may be used!
In the case of mobile brake disc lathes, the brake calipers and brake anchor plates must be removed.
The brake discs remain on the car.
Please refer to the lathe manufacturer's instruction manual for the exact procedure.
.png)
Fig. 28: Mobile Brake Disc Lathe
After fine-grinding the brake discs, measure the thickness difference inside the braking surfaces at 8 points with an external micrometer.
.png)
Fig. 29: Measuring Braking Surface Thickness Using External Micrometer
 Removing And Installing/Renewing Brake Pads On Both Front Disc Brakes
 Removing And Installing/Renewing Brake Pads On Both Front Disc Brakes
	 Removing And Installing/Replacing Both Front Brake Discs
 Removing And Installing/Replacing Both Front Brake Discs
	 Removing And Installing/Replacing Left Or Right Front Brake
Caliper
 Removing And Installing/Replacing Left Or Right Front Brake
Caliper
	 Removing And Installing/Replacing Right Inlet Camshaft (N63)
 Removing And Installing/Replacing Right Inlet Camshaft (N63)
	 Service Function
 Service Function